



→ syntax123: 搶這幹嘛 101.9.197.104 11/12 14:51
推 Vassili242: CAT-5566呢?223.137.146.116 11/12 14:51
→ a27588679: 如果有人盜用這塊車牌 車主是不是就要 180.177.33.135 11/12 14:51
→ bill403777: 聊天室7起來 114.137.151.63 11/12 14:51
推 t81511270: 搶這個好玩啊 114.41.177.219 11/12 14:51
→ a27588679: 換車牌了 180.177.33.135 11/12 14:51
→ s90002442: 等DOG再炒一次 114.136.73.76 11/12 14:51
噓 sylviehsiang: 那麼愛錢就開放自選賺更多啊 123.252.23.19 11/12 14:52
推 sali921: 當貓爽,當狗很慘吧 114.33.43.42 11/12 14:53
推 mopepe5566: 人家先進民主國家,車牌跟著人的 101.12.93.145 11/12 14:53
→ mopepe5566: 只有台灣跟著車,標到,換車又要重標 101.12.93.145 11/12 14:53
噓 vwpassat: Chi-8964呢? 1.165.226.194 11/12 14:53
推 seysem: 聽說買到8888可以當作起家車 賺50年 60.250.48.70 11/12 14:54
→ easyfish: 77777 114.40.33.241 11/12 14:54
→ kangbow: 窮人會覺得標這個很盤 36.233.111.56 11/12 14:55
→ alex00089: 有錢人的事 223.139.56.169 11/12 14:57
推 Linhahaer: 反正搶的人覺得爽就好118.167.168.109 11/12 14:57
推 uranuss: 貓奴都是有錢的 219.85.83.97 11/12 14:57
推 Stupidog5566: 樓下等著搶GAY-6969 101.14.7.202 11/12 14:58
推 k44754: 沒多久後就收到罰單,被8+9掛假牌 27.247.34.202 11/12 15:00
→ fortis232: 被掛假牌搞到變成GGG 111.253.138.14 11/12 15:01
推 Fezico: CAT-5987 27.242.64.246 11/12 15:02
推 bjk3370: 慟 56過氣了 42.72.223.210 11/12 15:02
推 neilisme: 掛假牌不會掛這麼招搖的 除非車是同型號 114.34.65.186 11/12 15:03
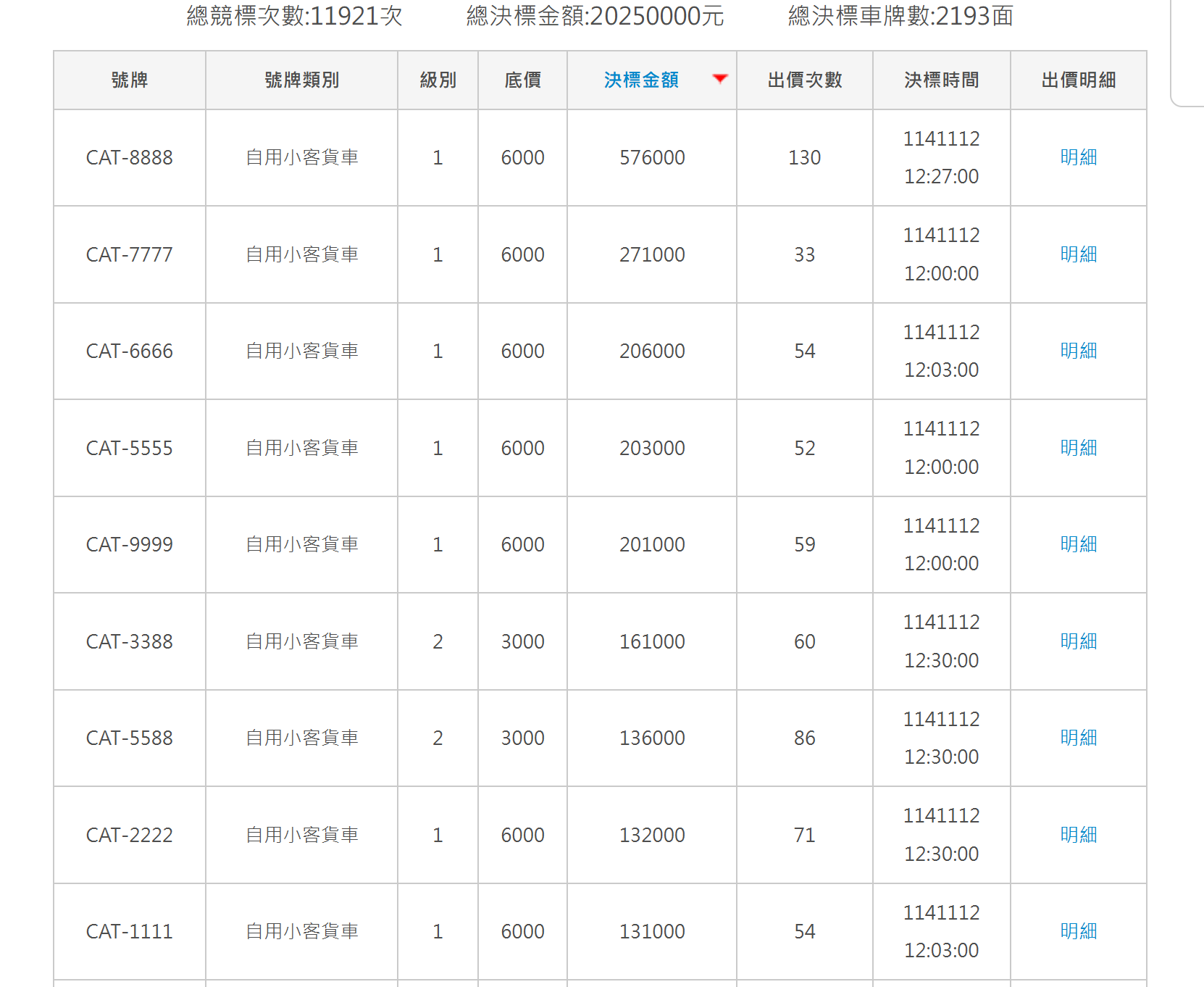
推 FastGunMan: CAT-5566 25000元 36.226.115.83 11/12 15:03
→ t4lin: 喵叭叭叭叭叭叭 223.136.254.32 11/12 15:05
推 coffee112: 哇靠 101.8.24.225 11/12 15:05
→ lcl0128: CAT-8787 61.216.158.150 11/12 15:05
推 hw1: DOG: 223.136.158.63 11/12 15:06
噓 k385476916: 哇靠 27.240.192.90 11/12 15:06
噓 qt359101: CAT-4444114.136.170.213 11/12 15:06
推 daicloud: 原來已經到C開頭了 111.242.250.74 11/12 15:08
→ zxc7: 沒看過C開頭ㄉ 125.228.115.39 11/12 15:11
推 gofPTT: 貓掰掰掰掰 是想跟喵喵說再見的意思嗎? 42.79.128.88 11/12 15:11
推 amazingwow: 以後掛假牌 互相傷害223.143.193.230 11/12 15:13
推 pttfrasier: 光是四個8就夠值錢了 還加上cat220.133.102.222 11/12 15:14
推 Rex1009: CAT-7414 111.71.54.145 11/12 15:15
→ EXZUSIC: 沒錢貓奴滾 101.10.220.165 11/12 15:19
推 AMAGICIAN: 搶電動車車牌更貴 39.9.103.3 11/12 15:21
→ bairn: 便宜,5566應該最高價吧 111.71.213.25 11/12 15:21
推 copybrown: CAT-5408 36.238.147.68 11/12 15:21
推 Arkzeon: 樓上勁戰仔露餡了。 現在的車牌哪來的4 39.9.226.98 11/12 15:25
推 UD305: 那時候才要開放4啦 36.235.128.54 11/12 15:28
→ enthpzd: 貓你幾個8ㄚ 223.23.68.130 11/12 15:29
推 iope007: PIG: 27.242.197.34 11/12 15:35
推 mussina27: 叭叭叭叭氣氣氣氣 101.10.78.221 11/12 15:35
→ xsexyx: 57萬可以救很多隻貓咪了…. 101.12.128.216 11/12 15:37
→ abeliangroup: CAT-7878 211.75.19.12 11/12 15:38
推 francis98: 放心,絕對不會是貓奴標到 114.137.96.163 11/12 15:39
推 catalase: 錢太多沒地方花 42.70.159.213 11/12 15:54
推 frzqp3814396: 8888不就胡董搶最多張218.164.134.141 11/12 15:58
推 saya2185: 盤 49.216.42.59 11/12 16:10
→ abobstar: 路上一堆奇特的號碼 都覺得是假車牌 36.237.234.189 11/12 16:12
推 Weylulu: 台灣人很有錢 27.52.37.184 11/12 16:15
推 habodaha: 有錢就是任性 114.40.195.166 11/12 16:20
推 kkoejeo: 好想要有錢喔 223.137.29.17 11/12 16:28
推 gogorice: 8888要57萬,0857才6萬7真沒用 42.79.181.10 11/12 16:34
推 m13579: 拿去買罐罐好嗎 車牌對貓無感 101.10.239.2 11/12 16:36
推 t2134563: 中華機械 36.235.66.223 11/12 16:39
推 whitecan: CAT加8888比較像跟你的貓說再見欸 49.216.165.189 11/12 16:41
推 Doub1eK: 怎麼沒人搶 CAT-5566 101.10.246.250 11/12 16:46